Produktintroduktion

Qu80 er en højstyrkebane, der i vid udstrækning bruges i tunge scenarier såsom miner, havne og stålmøller. 75 kg/m Qu80 tung jernbane er velegnet til ekstrem kraftig transport, såsom store minebiler og metallurgiske køretøjer. QU80 er en ekstra tung skinne med høj kulstof og lav legering, der indeholder styrkende elementer som MN/SI, som kan få skinnen til at have god slidbestandighed, komprimeringsmodstand, belastningskapacitet og andre egenskaber og forlænge jernbanens levetid.
Produktapplikation

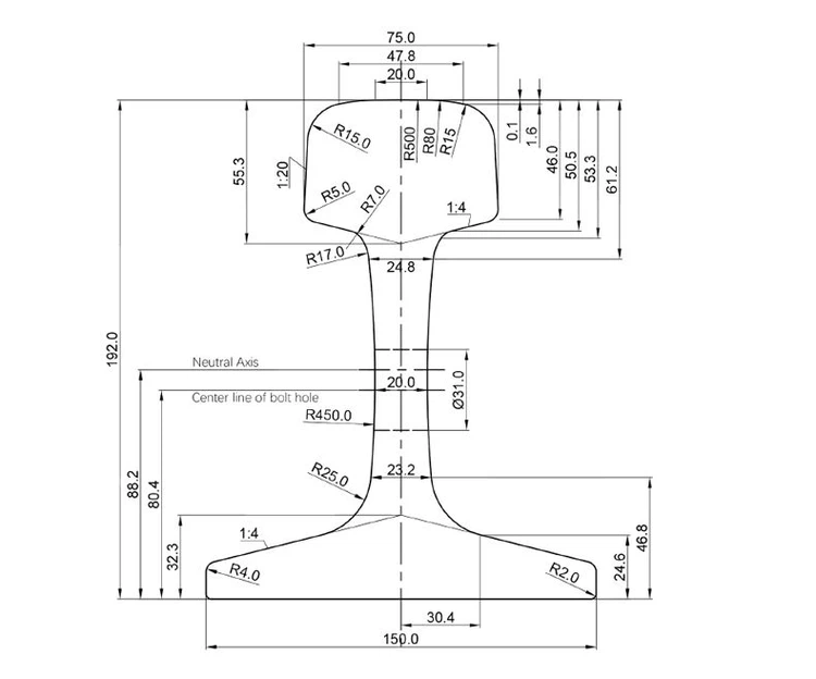
Produktspecifikationer

Virksomhedsprofil

Gnee Rail er blevet en førende virksomhed inden for stål udenrigshandel gennem kontinuerlig teknologisk innovation og markedsudvidelse og er forpligtet til at skabe langsigtet værdi for kunderne. Uanset om du har brug for standardprodukter eller tilpassede løsninger, serverer vi dig helhjertet. På samme tid klæber Gnee til begrebet miljøbeskyttelse, fremmer grøn produktion og stræber efter at reducere påvirkningen på miljøet.
Populære tags: Qu80 Høj hårdhed Heavy Duty Industrial 75 kg/m jernbane, Kina Qu80 Høj hårdhed Heavy Duty Industrial 75 kg/m jernbaneproducenter, leverandører, fabrik





